Szerelési útmutató a Külső Alumínium Redőnyökhöz
A redőny előkészítése a felszereléshez
Elsőként rögzítse a tokot a karokhoz (vezetőkhöz), 1. ábra. A rögzítés szegecseléssel történik, 2. ábra. A redőny karjainak alsó részét az "L"-profilhoz kell rögzíteni, ahogyan az a 3. ábrán látható. Az "L"-profil rögzítése a vezetőprofilokhoz szegecseléssel történik, 4. ábra.
1. lépés
Helyezze be az A tok meghosszabbítását a C vezetőprofil speciálisan erre a célra kialakított B csatornájába.
2. lépés
Ellenőrizze, hogy a vezetők elhelyezése megfelelő-e. A lyukak egymáshoz igazítása után a vezetőket a házhoz szegecseljük.
|
|
2. ábra
|
3. lépés
A vezetőprofilok aljára egy "L"-profil kerül felszerelésre a jobb szigetelés érdekében. A gumírozott rész, amely az utolsó (alsó) lécre van szerelve, "ráfekszik" erre az "L"-profilra, amikor a redőny lehúzásra kerül.
4. lépés
Igazítsa egymáshoz a lyukakat, és rögzítse a szegecsekkel a vezetőprofilhoz az "L"-profilt . A vásárló igényei függvényében az "L"-profil felszerelése el is hagyható.
|
|
4. ábra
|
Szerelés az ablakra
Helyezze a redőnyt arra a helyre, ahol felszerelésre kerül. Jelölje meg a rögzítések helyét (6. ábra) és azt a helyet, ahol a vezérlőzsinór vagy -szalag át lesz vezetve (7. ábra). A rögzítőpontok megjelölése a karok profiljába külön erre a célra készített furatok figyelembevételével kell történjen (5. ábra). A megjelölés után fúrja át a rögzítési pontokat és lyukassza át az ablakot (vagy adott esetben a falat) a vezérlőzsinór (vagy szalag) átvezetéséhez (8. ábra). A szalagot vagy zsinórt a kifúrt résén keresztül vezesse be a házba. A redőnyt rögzítse csavarszögekkel (9. ábra). Szerelje fel a szalagot vagy zsinórt takaró és vezető tartozékot (10. ábra). Szerelje fel a vezérlődobozt (23-24. ábra).
FIGYELEM! A redőny pozicionálásához használjon vízmértéket!
Ha a redőny az ablakhoz (az ablakkerethez) lesz rögzítve, akkor a rögzítőfuratok a vezetőprofil külső részén vannak. Két lyuk van: az első nagyobb, a második kisebb. Az önmetsző csavar fejének át kell hatolnia az első lyukon, és meg kell akadnia a másodikban, hogy a vezetőprofilt az ablakhoz rögzítse.
|
|
6. ábra
|
A redőnyt a rögzítés helyére kell helyezni (vízmértékben), pontosan abba a pozícióba, ahová rögzítve lesz. Ellenőrizze, hogy biztonságosan ül-e az ablakon, és hogy a rögzítési pontok olyan felületekre esnek-e, amelyek szilárd rögzítést biztosítanak. Jelölje meg az összes rögzítési pontot. A rögzítési pontok megjelölése csapszegkiütő segítségével történhet. Jelölje meg a fal vagy az ablak átlyukasztásának helyét a 7. ábrának megfelelően. Az átlyukasztásra azért van szükség, hogy a vezérlőszalagot vagy -zsinórt be lehessen vezetni. A megjelölés után távolítsa el a redőnyt, majd jöhet a következő lépés, a fúrás.
FIGYELEM! Önmetsző csavarok használata esetén nem szükséges megfúrni (megjelölni) azt a felületet, ahová a rögzítés történik.
Az átlyukasztás megjelölését azon a ponton kell elvégezni, ahol a szalag vagy a zsinór kilép az A-redőny burkolatából. A szalagos vezérlést akkor használják, ha a perforáció átmérője elég nagy ahhoz, hogy lehetővé tegye a szalag átvezetését. Ha a szobába való bevezetés olyan falon vagy anyagon keresztül történik, amely nem teszi lehetővé vagy nem bírja a nagyobb átmérőjű lyukakat, akkor a zsinór használata ajánlott. A szalag a zsinórhoz képest szélesebb. Ügyelni kell arra, hogy fúrást és a redőny felszerelését követően a zsinór vagy a szalag könnyen végigfusson a lyukon, hogy használat közben ne kopjon el.
|
|
8. ábra
|
Miután megjelölte a rögzítési pontokat és a fúrás helyét, következhet a konkrét fúrás. A lyukat a vezérlőszalag vagy -zsinór vastagságának függvényében kell kifúrni. A fúrás után a furatokat meg kell tisztítani a törmeléktől, és el kell távolítani a port azokról a felületekről, amelyekre a redőnyt felszerelik. Távolítson el minden akadályt a furatból, hogy ne kopjon el idő előtt a vezérlőzsinór vagy -szalag.
A redőny rögzítéséhez igazítsa a redőnyön lévő lyukakat az ablakon lévő lyukakhoz, és kezdje meg a csavarozást. Szükség esetén ajánlatos szilikonzsinórt használni az ablak és a redőny közötti érintkezési felületeken, valamint purhabot, ha a redőny és a fal között hézagok keletkeznek. Ez a jobb szigetelés érdekében történik. A redőny felszerelése után a vezetősínek profilján lévő lyukakat speciális dugókkal lehet lezárni.
|
|
10. ábra
|
A redőny felszerelése után egy speciális szerelvényt helyeznek el arra a helyre, ahol a vezérlés bejön a szobába, amely a zsinór vagy a szalag elfedésére és vezetésére szolgál. A tartozék rögzítése két csavarszöggel történik. A következő lépés a vezérlődoboz felszerelése(23-24. ábra).
Szerelés a falra
Helyezze a redőnyt arra a helyre, ahol felszerelésre kerül. Jelölje meg a rögzítések helyét (12. ábra) és azt a helyet, ahol a vezérlés át lesz vezetve (13. ábra). A rögzítőpontok megjelölése a karok profiljába külön erre a célra készített furatok figyelembevételével kell történjen (11. ábra). A megjelölés után fúrja át a rögzítési pontokat és lyukassza át az ablakot (vagy adott esetben a falat) a vezérlőzsinór (vagy szalag) átvezetéséhez. Helyezze be a tipliket. A szalagot vagy zsinórt a kifúrt résén keresztül vezesse be a házba. A redőnyt rögzítse tiplikkel (15. ábra). Szerelje fel a szalagot vagy zsinórt takaró és vezető tartozékot (16. ábra). Szerelje fel a vezérlődobozt (23-24. ábra).
FIGYELEM! A redőny pozicionálásához használjon vízmértéket!
Ha a redőny a falhoz lesz rögzítve, akkor a rögzítőfuratok a vezetőprofil külső részén vannak. Két lyuk van: az első nagyobb, a második kisebb. A csavarszög fejének át kell hatolnia az első lyukon, és meg kell akadnia a másodikban, hogy a vezetőprofilt a falhoz rögzítse.
|
|
12. ábra
|
A redőnyt a rögzítés helyére kell helyezni (vízmértékben), pontosan abba a pozícióba, ahová rögzítve lesz. Ellenőrizze, hogy biztonságosan ül-e az ablakon, és hogy a rögzítési pontok olyan felületekre esnek-e, amelyek szilárd rögzítést biztosítanak. Jelölje meg az összes rögzítési pontot. A rögzítési pontok megjelölése csapszegkiütő segítségével történhet. Jelölje meg a fal átlyukasztásának helyét a 13. ábrának megfelelően. Az átlyukasztásra azért van szükség, hogy a vezérlőszalagot vagy -zsinórt be lehessen vezetni. A megjelölés után távolítsa el a redőnyt, majd jöhet a következő lépés, a fúrás.
Az átlyukasztás megjelölését azon a ponton kell elvégezni, ahol a szalag vagy a zsinór kilép az A-redőny burkolatából. A szalagos vezérlést akkor használják, ha a perforáció átmérője elég nagy ahhoz, hogy lehetővé tegye a szalag átvezetését. Ha a szobába való bevezetés olyan falon vagy anyagon keresztül történik, amely nem teszi lehetővé vagy nem bírja a nagyobb átmérőjű lyukakat, akkor a zsinór használata ajánlott. A szalag a zsinórhoz képest szélesebb. Ügyelni kell arra, hogy fúrást és a redőny felszerelését követően a zsinór vagy a szalag könnyen végigfusson a lyukon, hogy használat közben ne kopjon el.
|
|
14. ábra
|
Miután megjelölte a rögzítési pontokat és a fúrás helyét, következhet a konkrét fúrás. A vezérlés átvezetéséhez szükséges lyukat a vezérlőszalag vagy -zsinór vastagságának függvényében kell kifúrni. A fúrás után a furatokat meg kell tisztítani a törmeléktől, és el kell távolítani a port azokról a felületekről, amelyekre a redőnyt felszerelik. Távolítson el minden akadályt a furatból, hogy ne kopjon el idő előtt a vezérlőzsinór vagy -szalag. A fúrás után behelyezzük a tipliket, majd következhet a redőny rögzítése.
A redőny rögzítéséhez igazítsa a redőnyön lévő lyukakat a falon lévő lyukakhoz, és kezdje meg a csavarozást. Szükség esetén ajánlatos szilikonzsinórt használni az érintkezési felületeken, valamint purhabot, ha a redőny és a fal között hézagok keletkeznek. Ez a jobb szigetelés érdekében történik. A redőny felszerelése után a vezetősínek profilján lévő lyukakat speciális dugókkal lehet lezárni.
|
|
16. ábra
|
A redőny felszerelése után egy speciális szerelvényt helyeznek el arra a helyre, ahol a vezérlés bejön a szobába, amely a zsinór vagy a szalag elfedésére és vezetésére szolgál. A tartozék rögzítése két csavarszöggel történik. A következő lépés a vezérlődoboz felszerelése, 23-24. ábra.
Szerelés az ablakmélyedésbe
Helyezze a redőnyt arra a helyre, ahol felszerelésre kerül. Jelölje meg a rögzítések helyét (18. ábra) és azt a helyet, ahol a vezérlés át lesz vezetve (19. ábra). A rögzítőpontok megjelölése a karok profiljába külön erre a célra készített furatok figyelembevételével kell történjen (17. ábra). A megjelölés után fúrja át a rögzítési pontokat és lyukassza át az ablakot (vagy adott esetben a falat) a vezérlőzsinór (vagy szalag) átvezetéséhez. Helyezze be a tipliket. A szalagot vagy zsinórt a kifúrt résén keresztül vezesse be a házba. A redőnyt rögzítse tiplikkel (21. ábra). Szerelje fel a szalagot vagy zsinórt takaró és vezető tartozékot (22. ábra). Szerelje fel a vezérlődobozt (23-24. ábra).
FIGYELEM! A redőny pozicionálásához használjon vízmértéket!
Ha a redőny az ablakmélyedésbe lesz rögzítve, akkor a rögzítőfuratok a vezetőprofil csatornáján vannak (17. ábra, fent). Két lyuk van: az első nagyobb, a második kisebb. A csavarszög fejének át kell hatolnia az első lyukon, és meg kell akadnia a másodikban, hogy a vezetőprofilt a falhoz rögzítse és ne akadályozza a redőny lamelláinak haladását a vezetőcsatornán keresztül. Az ablakmélyedésbe történő rögzítésnél több szempontot is figyelembe kell venni. Az ablakmélyedésnek egyenesnek és párhuzamos oldalúnak kell lennie. Ha ez nem így van, akkor ékeket lehet használni a kiegyenlítéshez. Az ablakmélyedésbe való szerelés nehezebb, mint az ablakra vagy a falra való szerelés. Az ablakmélyedésbe való szerelés "L" vezérlőprofilok segítségével is történhet (17. ábra, lent)
|
|
18. ábra
|
A redőnyt a rögzítés helyére kell helyezni (vízmértékben), pontosan abba a pozícióba, ahová rögzítve lesz. Ellenőrizze, hogy biztonságosan ül-e az ablakon, és hogy a rögzítési pontok olyan felületekre esnek-e, amelyek szilárd rögzítést biztosítanak. Jelölje meg az összes rögzítési pontot. A rögzítési pontok megjelölése csapszegkiütő segítségével történhet. Jelölje meg a fal átlyukasztásának helyét a 19. ábrának megfelelően. Az átlyukasztásra azért van szükség, hogy a vezérlőszalagot vagy -zsinórt be lehessen vezetni. A megjelölés után távolítsa el a redőnyt, majd jöhet a következő lépés, a fúrás.
Az átlyukasztás megjelölését azon a ponton kell elvégezni, ahol a szalag vagy a zsinór kilép az A-redőny burkolatából. A szalagos vezérlést akkor használják, ha a perforáció átmérője elég nagy ahhoz, hogy lehetővé tegye a szalag átvezetését. Ha a szobába való bevezetés olyan falon vagy anyagon keresztül történik, amely nem teszi lehetővé vagy nem bírja a nagyobb átmérőjű lyukakat, akkor a zsinór használata ajánlott. A szalag a zsinórhoz képest szélesebb. Ügyelni kell arra, hogy fúrást és a redőny felszerelését követően a zsinór vagy a szalag könnyen végigfusson a lyukon, hogy használat közben ne kopjon el. A zsinór használata PVC és alumínium ablakok, illetve falra szerelés esetén ajánlott. Zsinór esetén a furatnak 10 mm-esnek kell lennie. Szalag esetén a furatnak 18 mm-esnek kell lennie.
|
|
20. ábra
|
Miután megjelölte a rögzítési pontokat és a fúrás helyét, következhet a konkrét fúrás. A vezérlés átvezetéséhez szükséges lyukat a vezérlőszalag vagy -zsinór vastagságának függvényében kell kifúrni. A fúrás után a furatokat meg kell tisztítani a törmeléktől, és el kell távolítani a port azokról a felületekről, amelyekre a redőnyt felszerelik. Távolítson el minden akadályt a furatból, hogy ne kopjon el idő előtt a vezérlőzsinór vagy -szalag. A fúrás után behelyezzük a tipliket, majd következhet a redőny rögzítése.
A redőny rögzítéséhez igazítsa a redőnyön lévő lyukakat a falon lévő lyukakhoz, és kezdje meg a csavarozást. Szükség esetén ajánlatos szilikonzsinórt használni az érintkezési felületeken, valamint purhabot, ha a redőny és a fal között hézagok keletkeznek. Ez a jobb szigetelés érdekében történik.
|
|
22. ábra
|
A redőny felszerelése után egy speciális szerelvényt helyeznek el arra a helyre, ahol a vezérlés bejön a szobába, amely a zsinór vagy a szalag elfedésére és vezetésére szolgál. A tartozék rögzítése két csavarszöggel történik. A következő lépés a vezérlődoboz felszerelése (23-24. ábra)
A vezérlőszalag vagy -zsinór felszerelése
A vezérlődoboz felszerelése a redőny felszerelése után történik. Először távolítsa el a műanyag dugókat a 23. ábrán látható módon, és a fedelet felemelve nyissa fel a vezérlődobozt. A vezérlődoboz bezárásakor helyezze vissza a két dugót. A vezérlődoboz felszereléséhez engedje le a redőny lamelláit, ezzel meglazítva a meghajtószalagot vagy adott esetben a meghajtózsinórt. A vezérlődoboz felnyitását követően vegye le a fedelet, és rögzítse a szalagot vagy a zsinórt a 24. ábrán látható módon.
|
|
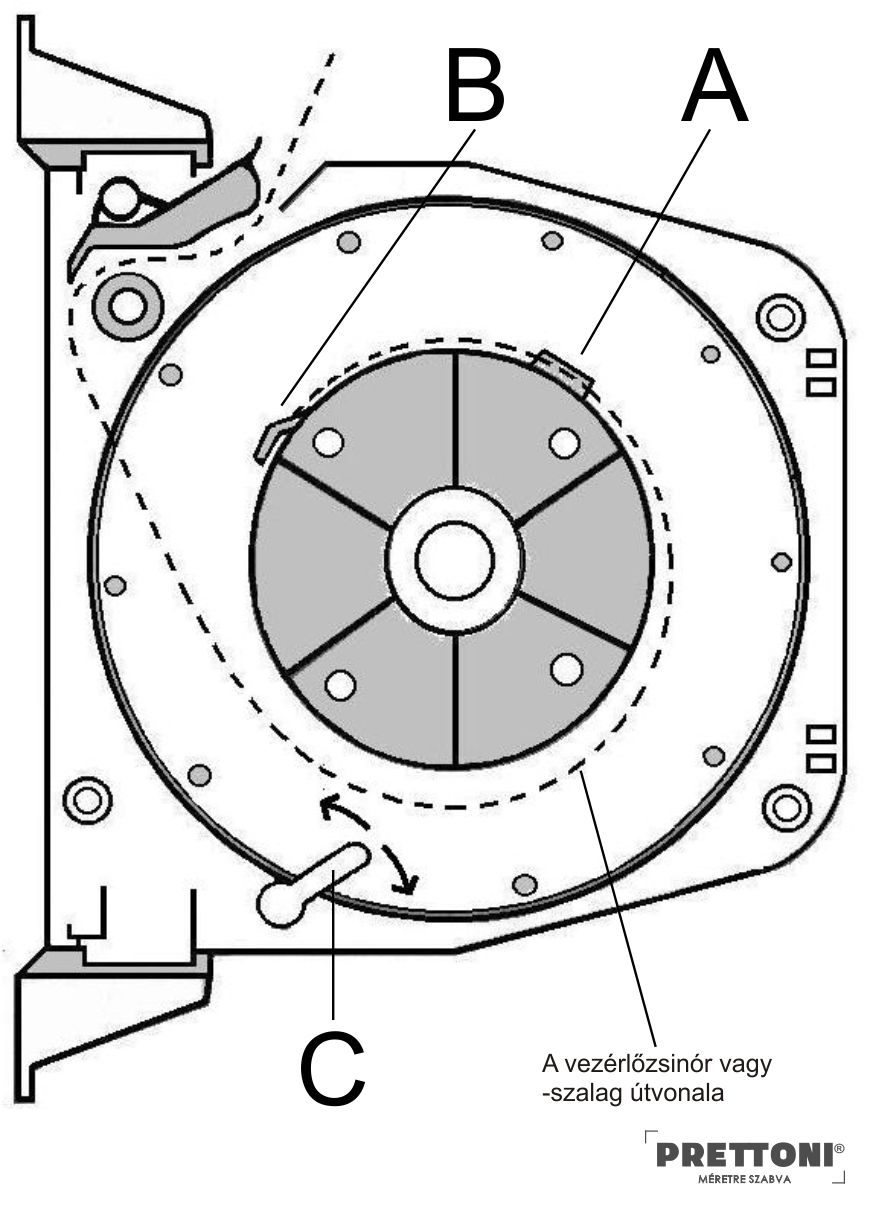
24. ábra
|
A szalagnak vagy a zsinórnak át kell haladnia a vezérlőlemez csatornáján. A végét át kell vezetni az A jelzésű nyíláson, és a B jelzésű kampóba kell rögzíteni. Az A nyílás a szalagot vagy zsinórt szorosan a lemez csatornájában tartja, a B horog pedig megakadályozza, hogy a vezérlés teljesen letekeredjen. A zsinórt vagy szalagot az önzáró rendszer révén rögzítjük a 24. ábrán látható szaggatott vonal mentén. A lemezt kézzel tartva (FIGYELEM! A lemez rugóval rendelkezik), hogy megakadályozza a letekeredést, távolítsa el a C kapcsot. Engedje le a vezérlést a lemezcsatornán, majd zárja vissza a vezérlődobozt.
Árnyékoló típusok, amit kínálunk
- Belső Árnyékolás: Roletták, Romai Rolók, Tetőtéri Rolók, Sávrolók, Fa Reluxák, Alumínium Reluxák, Szalagfüggönyök, Lapfüggönyök, Pliszék, Függönyök, Sötétítők, Karnisok
- Külső Árnyékolás: Külső Reluxák, Külső Redőnyök, Napernyők, Pergolák, Szélfalak
- Egyéb: Tapéták, Műanyag Ajtók és Ablakok, Garázskapuk, WPC-k, Ablakpárkányok, Festékek
Hogyan lépjen kapcsolatba velünk:
Szeretne egy gyors árajánlatot, vagy konzultációra van szüksége? Írjon egy üzenetet facebook-on, vagy az info@prettoni.hu email címre, hozzávetőleges méretekkel, a keresett rendszerek típusával és színével, és mi a lehető leghamarabb válaszolunk!
Elérhetőségek röviden:
- Web: www.prettoni.hu
- Email: info@prettoni.hu
- Telefon: +40-722-130-130























